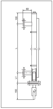
UHC-517C是最常用的侧装式磁翻板液位计/磁性浮子液位计,适用于工作压力≤6.4MPa,工作温度≤480℃的液体介质的液位测量。 |
测量范围:(300~15000)mm
|
(两个法兰中心距离)
|
工作压力:≤6.4MPa
|
工作温度:≤480℃
|
介质密度:(0.45-2.0)g/cm3
|
法兰标准:HG20592-20635-97
|
其它法兰标准请用户注明
|
材质:普通型:不锈钢304 316L
|
浮子:304 316L
|
其它材质要求请用户注明
|
连接方式:旁路侧面安装法兰
|
DN
|
20
|
PN
|
0.6
|
1.0
|
1.6
|
2.5
|
4.0
|
6.4
|
可选项
|
UHC-517C-
|
|

|
D 输出(4~20)mA二线制变送器
|
□液位开关:C,E,F任选
|
Q 本安型,ibIICT5
|
B 隔爆型:dIIBT5
|
T 配隔离安全栅
|
M 电伴热装置
|
A 配光柱显示仪表(竖式)
|
B 配光柱显示仪表(横式)
|
□工作压力 MPa
|
□介质密度 g/cm3
|
□测量范围 L=mm
|
|