概 述
|
FA24型玻璃转子流量计是采用国际工艺和设备制造的产品,质量性能达到国际水平,精度等级高,采用独特的设计,法兰接头可以旋转以调节四只安装孔,在不把流量计撤出管道的情况下,可方便的更换锥管 和浮子。
可加装标尺板。 |
|
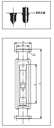
外形及安装尺寸 |

|

|
通 径 |
窗口尺寸
(a×b) |
C |
B |
A |
E |
重量
(kg) |
DN15 |
37×302 |
500 |
Φ65 |
Φ95 |
4-Φ14 |
6 |
DN25 |
52×294 |
500 |
Φ85 |
Φ115 |
4-Φ14 |
10 |
DN40 |
64×278 |
500 |
Φ110 |
Φ145 |
4-Φ14 |
13 |
DN50 |
94×266 |
500 |
Φ125 |
Φ160 |
4-Φ18 |
18 |
DN80 |
132×302 |
500 |
Φ150 |
Φ185 |
4-Φ18 |
32 |
|
注:法兰标准GB/T9119-2000
DN(15~50), PN1.0MPa DN80 PN0.6MPa |
|
|
型号规格与技术参数 |
通 径
(mm) |
型 号 |
测量范围 |
压损
(Pa) |
最大压力
(MPa) |
最高温度(℃) |
准确度等级 |
水(20℃)L/h |
空 气
(20℃ 101325Pa)m3/h |
DN15 |
FA24-15
FA24-15F |
10~100
16~160
25~250
40~400
63~630 |
0.12~1.2
0.2~2
0.3~3
0.5~5
0.8~8
1.2~12
2~20 |
1100
1200
1700
2000
2500
3000 |
1.0 |
120 |
2.5 |
DN25 |
FA24-25
FA24-25F |
63~630
100~1000
160~1600
250~2500 |
2~20
3~30
5~50
6~60 |
2800
4000
5000
6000 |
1.0 |
DN40 |
FA24-40
FA24-40F |
250~2500
400~4000 |
5~50
8~80
12~120 |
3400
4000
5000 |
0.9 |
DN50 |
FA24-50
FA24-50F |
630~6300
(1~10)m3/h |
12~120
20~200
30~300 |
4800
6500
8500 |
0.7 |
DN80 |
FA24-80
FA24-80F |
(1.6~16)m3/h
(2.5~25)m3/h
(8~40)m3/h |
|
8000
9000
9600 |
0.5 |
|
注:1、进入流量计流体的压力,液体至少是压损的两倍,气体必须超过5倍压损。
2、需准确度等级1.5级,请在订单上注明。
3.耐腐型四氟浮子流量比普通型低一流量等级。 |
|
全不锈钢型FA24-()B/BF FA24-()Bo/BoF |
法兰、浮子、导杆、支承板及螺栓等均为不锈钢304(1Cr18Ni9Ti),型号为FA24-()B。
接液材质如需选用316,则型号为FA24-()B0,需定做。
如需不锈钢内衬PTFE,则型号为FA24-()BF(316为B0F),需定做。 |
零 部 件 |
型 号 |
浮 子 |
基 座 |
止 档 |
密封圈及垫片 |
导 杆 |
FA24 - 15、25 、
40 、50、80 |
1Cr18Ni9Ti
不锈钢 |
铸 铁 |
氟塑料 |
耐高温橡胶 |
1Cr18Ni9Ti
不锈钢 |
FA24 - 15F、2 5 F 、
40F、50F、80F |
外包氟塑料 |
铸铁内衬 氟塑料* |
氟塑料 |
氟橡胶 |
|
|
注:如介质是有机溶剂,订货时请注明。 |
|