主要产品:
电磁流量计
金属管浮子流量计
磁性浮子液位计
玻璃转子流量计
流量仪表
玻璃转子流量计
金属管浮子流量计
电磁流量计
涡街流量计
涡轮流量计
双转子流量计
节流装置
吹扫(装置)流量计
有机玻璃转子流量计
塑料管浮子流量计
分流转子流量计
物位仪表
温度仪表
智能变送器
定量装车系统
产品目录
流量仪表
物位仪表
温度仪表
智能变送器
定量装车系统
玻璃转子流量计
LZB-G30S系列玻璃转子流量计是成丰仪表公司...
双金属温度计
双金属温度计是一种 适用于测量中低温的现场 检测...
氧气流量计
产品型号:LZB-6M(MT)O₂
概述
该款成丰仪表的流量计是一种以有机玻璃为主体的浮子流量计,主要用于氧气检测、控制氧气的流量计。它的特点是外形美观、重量轻、不易破裂、使用寿命长。
技术参数
型号
测量范围 L/min
连接方式
准确度
使用压力
LZB-6MO₂
LZB-6MTO₂
1~10
软管连接
5%
≤0.1Mpa
0.5~14
0.1~1.5
0.2~2
0.3~3
0.5~5
1~10
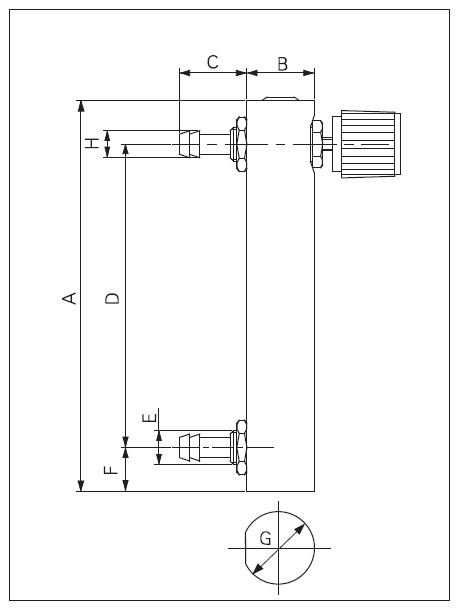
外形及安装尺寸
型号
测量范围
L/min
尺寸(mm)
A
B
C
D
E
F
G
H
LZB-6MO₂
LZB-6MTO₂
1~10
106
21
21
80
M10*1
13
22
8
0.5-14
106
80
13
8
0.1~1.5
93
70
10
6
0.2~2
93
70
10
6
0.3~3
93
70
10
6
0.5~5
116
90
13
8
1~10
116
90
13
8
版权所有 常州市成丰流量仪表有限公司
苏ICP备05060277号
主要产品:
电磁流量计
金属管浮子流量计
磁性浮子液位计
玻璃转子流量计
网站地图
领动互联网
设计制作 公司地址:常州市遥观镇钱家工业园区常和路78号 电话:+86-0519-85509739 传真:+86-519-85505269